m
Nous écrivions en effetLogo1x

NOTES DE LECTURES
Genève, avril 2016

BLENCH, R. 2006

Archaeology, language and the african past. Lanham, New York, Toronto, Oxford :Rowman & Little Field Publishers, Inc. (Altamira Press).

 

La mise ne correspondance des classifications linguistiques et des composantes culturelles, tant économiques que techniques, céramiques notamment, a soulevé de nombreuses discussions, notamment dans le cadre de l’histoire des populations indo-européennes. On sait combien la formule de Gordon Childe une langue, un pot, un peuple a été critiquée, souvent à juste titre.

 

Deux questions se posent à ce propos :

1. Quelles sont les conditions du passage d’une classification des langues - phénétiques (proximités globales)  ou cladistiques (processus de descendance avec modifications) - à une classification phylogénétique interprétable en termes historiques ?

2. Quelle est la pertinence des racines linguistiques restituées au niveau des proto-langages pour définir un certain nombre d’innovations techniques et/ou économiques ?

 

Le livre de Blench nous invite à voir ce qu’il en est pour l’Afrique. Sur ce continent, trois auteurs, Roger Blench, Christopher Ehret et Claude Rilly, ont en effet suivi cette voie pour restituer l’histoire des phylum nilo-saharien et afro-asiatique ou afrasien.

Tentons d’évaluer la position de Blench en confrontant ses vues avec celles de ses collègues, d’en préciser les implications, et de tester cette hypothèse de correspondances.

 

1. Phylum nilo-saharien

Christopher Ehret

Ehret (2011), comme Bender (2004), partagent ce présupposé commun que leurs classifications sont directement interprétables en termes génétiques (ou généalogiques), c'est-à-dire que les groupements ou les arbres qu'ils proposent doivent être expressément compris comme des schémas d'évolutions divergentes régulières à partir d'une langue ancestrale commune, les phénomènes d'emprunt ou de diffusion ne constituant que des accidents relativement mineurs, qui ne remettent pas fondamentalement en cause le principe d'une parenté linguistique univoque.

 

 

Fig.1.  Confrontation du classement des langues nilo-sahariennes et des termes en relation avec des innovations culturelles. D’après Ehret 2011, fig. 9, p. 252.

 

Ehret (1993/1995) retient sur cette base cinq paliers historiques principaux à partir d’un centre d’origine situé dans le désert égyptien (cf Nabta Playa et autres sites de cette région, Wendorf, Schild 1996, 1998, 2001) :

 

1. Proto-soudanique (> 9000 BCE). Stade chasseur-cueilleur. Diffusion en direction de Sud à l’origine de proto-central-soudanique. Cette toute première diffusion est à l’origine des langues parlées sur les frontières sud-occidentales du phylum aux confins du Tchad, de la Centrafrique et du Congo. 

2. Proto-Nord-soudanique (8000 BCE).  Proto-léxèmes indiquant la domestication, la collecte des céréales sauvages et la céramique.

3. Proto-saharo-sahélien (7000 BCE). Proto-lexèmes en relation avec un élevage et une agriculture bien établie. Diffusion en direction du Tibesti et de l’Ennedi (proto-saharien).

4. Proto-sahélien (6500 BCE). Proto-léxèmes en relation avec l’élevage des caprinés. Migration à l’origine du Songhaï (pour cette question, voir Nicolaï 1990).

5. Proto-Est-sahélien. Diffusion en direction du Wadi Howar, atteint à la phase Leiterband (vers 4000 BCE).

 

 

Fig. 2. Arbre phylogénétique du Nilo-saharien selon Ehret 1993/1995  par rapport aux séquences archéologiques de Nabta Playa et du Wadi Howar. Les dénominations de familles en rouge sont celles de Rilly. Schéma simplifié Alain Gallay.

 

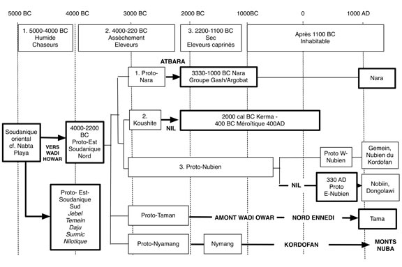
Claude Rilly

Claude Rilly (2009, 2010) se penche quant à lui sur la classification et la phylogénétique d’une seule famille, celle de l’Est-soudanique-Nord (ou Soudanique oriental Nord). Son objectif est d’intégrer à l’analyse des complexes linguistiques anciens connus seulement par des textes écrits, en l’occurrence le méroïtique et  le nubien ancien, dont il démontre l’appartenance au phylum nilo-saharien.

L’analyse de Claude Rilly se place dans le cadre de la classification de Bender (2004). Sur le plan technique l’analyse suit les procédures classiques de la méthode comparative dont les étapes ont été clairement définies par l’indo-européaniste Meillet (1925), qui fut l’un des disciples de Saussure (Reichler-Béguelin 1988).

 

 

Fig.3.  Développement du Soudanique oriental selon Rilly 2009 (pour une vue légèrement différente voir Dimmendaal 2007).

 

Le tableau suivant tente de résumer les mouvements de population identifiés.

 

 

Fig. 4. Développement du soudanique oriental selon Claude Rilly. Schéma Alain Gallay.

 

 

Fig. 5.  Développement du phylum nilo-saharien. En rouge : familles dérivées du proto-Est-soudanique Nord de Rilly depuis le Wadi Howar. Schéma géographique Alain Gallay.

 

2. Phylum afro-asiatique (afrasien)

Chistopher Ehret

Une origine africaine de l’Afrasien est clairement démontrée à travers le principe de parcimonie qui tend à minimiser les déplacements de populations. Quatre mouvements séparés de populations depuis le Proche et le Moyen Orient, en relation avec les langues sémitiques, sont en effet hautement improbables.

 

Ehret situe le berceau de l’Afrasien le long de la mer Rouge, puis décrit une diffusion en direction des plateaux éthiopiens. L’une des particularités du scénario proposé est le regroupement des langues berbères et tchadiques dans une même famille, le protot-tchado-berbère, malgré la distance qui sépare l’Afrique du Nord du bassin du Tchad. Les dates proposées, qui ignorent les données soudanaises, paraissent trop anciennes.

 

 

Fig. 6. Place des innovations économiques dans le développement du phylum afrasien d’après Ehret 2011. Les racines concernant l’élevage (A, B, C et D) sont distinctes  et témoignent de développements autonomes. Les dates proposées par Ehret paraissent trop anciennes par rapport à la séquence du Soudan central, une référence qu’Ehret n’utilise pas.

 

 

Fig. 7.  Carte de diffusion de l’Afrasien par rapport à l’expansion du phylum nilo-saharien. Repris d’Ehret 2011,  carte 2 selon une autre graphie. Le Soudan central n’intervient dans cette reconstruction que comme zone réceptrice du Koman, une langue nilo-saharienne marginale, d’ailleurs située pratiquement à la frontière éthiopienne. Carte Alain Gallay.

 

Roger Blench

L’arbre proposé par Blench (2006) reprend la proposition d’Ehret en y incorporant ses propres vues. La principale différence réside dans une meilleure séparation du tchadique. Il s’agit d’un arbre composite incorporant les vues d’Ehret (1995) et les vues personnelles du linguiste.

 

 

Fig. 8. Classement des langues afro-asiatiques selon Blench 2006, fig. 4.7.

 

La confrontation des données de Blench (2006) et de la préhistoire du Soudan central (pour un résumé voir Sadig 2010) permet de restituer le scénario suivant qui reste au second plan dans les articles de Blench :

 

1. Proto-afrasien. Mésolithique de Khartoum (8000-5800 BCE). Origine de l’Afrasien au Soudan central dans la région du Gezireh-Butana entre Nil blanc et Nil bleu (cf Blench 2006, carte 5, p. 162).

2. Erythraïque. Mésolithique tardif (5800-5000 BCE). Les racines linguistiques restituées à ce niveau concernent la collecte des graminées, la mouture et les galettes de céréales et témoignent d’une intensification de la collecte végétale.

3. Couchitique-tchadique, puis proto-couchitique et proto-tchadique. Néolithique ancien ou Early Khartoum (5000-4000 BCE). Les racines linguistiques restituées à ce niveau concernent désormais l’élevage, mais les racines concernant cette pratique diffèrent selon les proto-couchitiques et le proto-tchadiques, ce qui signifie que les deux populations étaient déjà distinctes  sur place au moment de l’arrivée de l’élevage.

4. Mésolithique tardif (4000-3000 BCE). Expansion des populations proto-tchadiques en direction du Tchad par le Wadi Howar à la phase Leiterband et des populations proto-couchitiques en direction de l’Ethiopie.

 

 

Fig.9.  Histoire du phylum afrasien selon Blench 2006. Schéma A. Gallay incorporant les données sur l’histoire des langues couchitiques (Gallay 2016b, Ehret 1976).

 

3. Une synthèse possible ?

La confrontation des vues d’Ehert et de Blench révèle deux contradictions majeures concernant :

 

1. Le lieu d’origine de l’Afrasien (Ehret : bord de la mer Rouge ou Blench : Soudan central). Le fait que les populations afrasiennes devaient collecter des céréales sauvages et manger des tubercules de carex parle en faveur d’un milieu humide riche en ressources végétales, ce qui milite plutôt en faveur de l’hypothèse de Blench. Il y avait à l’Holocène dans le Gézireh des lacs qui ont par la suite disparu.

2. La question de la proximité du berbère et du tchadique (Ehret). Cette proximité pose un problème d’ordre géographique du fait de la coupure présentée par le désert saharien. Cette raison d’ordre géographique nous fait donc préférer l’hypothèse défendue par Bender et Blench, plus conforme aux données géographiques. La présence de deux hypothèses concurrentes montre que l’utilisation des racines restituées ne va pas sans problèmes.

 

Reste néanmoins une question de taille quant à l’axe de diffusion du tchadique car nous voyons mal à première vue le Wadi Howar fonctionner à la même époque à la fois comme pôle de peuplement pour le proto-tchadique (phylum afrasien, Blench) et pour le proto-Est-soudanique Nord (phylum nilo-saharien, Rilly).

Nous préférons néanmoins le scénario de Blench qui intègre mieux les données archéologiques.

Ce dernier montre un phénomène, non souligné par Blench, à savoir qu’il convient de dissocier la diffusion de la domestication des bovidés de l’histoire des mouvements de populations révélés par la linguistique.

 

Diffusion de l’élevage

La diffusion de l’élevage révèle une expansion grossièrement Nord-Sud dont les principales étapes s’échelonnent ainsi :

- 8500 BCE. Apparition probable de la domestication des bovidés dans le désert lybien en Egypte, en contexte nilo-saharien.

- 6000 BCE. Remontée le long de la vallée du Nil jusqu’en Haute Nubie, le site d’el Barga fournissant sur cette question un point de repère essentiel (Honegger 2005, 2009; Chaix, Honegger 2009; Williams 2015).

- 5000 BCE. Développement de l’élevage au Soudan central dans le cadre de l’Early Khartoum, en contexte afrasien.

- 4000 BCE. Diffusion de l’élevage accompagnant certains mouvements de populations.

 

Mouvements de population

Le quatrième millénaire paraît accélérer la diffusion de l’élevage à travers certains mouvements de populations. Sur le plan linguistique, les racines concernant les termes en relation avec l’élevage différent entre le proto-couchitique, le proto-tchadique, le proto-berbère et le proto-sémitique, témoignant de centres historiques distincts dans la maîtrise de l’élevage, sinon dans la domestication (Clark et Brandt 1984; Brandt 1984; Ehret 2011).

 

- La première expansion concerne la pénétration des populations proto-couchitiques sur le plateau éthiopien. En Éthiopie, le bœuf domestique apparaît dans la région de Kassala à la frontière du Soudan et de l’Érythrée à la phase Kassala-Butana (3500-2500 cal BCE) (Gallay 2016a et b).

 

- La seconde concerne la migration des populations nilo-sahariennes du désert lybique en direction du Sud et du Wadi Howar, qu’elles atteignent vers 4000 BCE à la phase Leiterband.

 

- La troisième concerne l’expansion de certaines populations proto-tchadiques du Soudan central en direction du Wadi Howar à la même époque, mais peut-être un peu plus tardivement. En effet Blench fait remarquer que le proto-tchadique issu du Sud va, lors de son passage le long du Wadi Howar, incorporer certains termes nilo-sahariens, notamment une racine concernant les bovidés :

« This corridor is today inhabited by Nilo-Saharan speakers and was also presumably in the past. If such a migration took place, then there should be scattered, loaned livestock termes in Nilo-saharan languages all the way between the Nile and Lake Tchad. » (Blench 2006, p. 160).

La présence simultanée de deux populations d’origines distinctes dans la même région trouverait donc ici un début d’explication, ce qui ne résout pas la question de l’affiliation de la poterie Leiterband à l’un ou l’autre des occupants. On fera néanmoins remarquer que l’on a identifié certaines affinités de cette céramique avec les productions de l’Early Khartoum, faisant pencher la balance en direction des populations d’origine afrasienne (Keding 1993 in Blench 1999 ). Cela signifie-t-il qu’il faut attribuer la céramique contemporaine herringbone (céramique à chevrons) présente dans la partie aval du wadi proche du Nil aux populations nilo-Sahariennes ?

 

La confrontation proposée montre que l’utilisation de la linguistique historique reste un puissant outil pour proposer des scénarios historiques de diffusion, mais qu’il faut tenir compte du découplage possible entre diffusion de certains traits culturels et migrations de populations, une situation qui n'a rien d'inédit. La datation des divers branchements reste néanmoins délicate et dépend des contextes archéologiques mobilisés.

La confrontation des diverses hypothèses, une démarche habituelle en science, génère également des retombées inattendues que nous avons tenté de synthétiser ici.

 

 

 

Fig. 10. Modalité de diffusion du proto-tchadique selon l’hypothèse de Blench et les données archéologiques. 1. Flèches simples et dates BCE : première diffusion des bovidés domestiques. 2. Flèches doubles tiretées : diffusion des populations nilo-sharariennes en direction du Wadi Howar et des populations proto-couchitiques en direction du plateau éthiopien. 3. Flèches doubles épaisses : diffusion des populations de langue proto-tchadique depuis le Soudan central (Néolithique de Khartoum) vers le Wadi Howar (horizon Leiterband), puis le lac Tchad. Schéma Alain Gallay.

 

4. Quelques développements

Au moment de l'expansion le long du Wadi Howar, trois phénomènes cruciaux affectent la vallée du Nil dans la deuxième moitié du 4ème millénaire, phénomènes structurellement liés puisque lisibles au sein des mêmes sépultures, dans les rituels funéraires de Nubie (fig. 11). Ils prennent leur signification à la fois dans le cadre de l’expansion des populations de langues afrasiennes en direction du Wadi Howar et par rapport à l’évolution de la société qui mènera à la civilisation urbaine de Kerma. Il s’agit de :

- la question des vases caliciformes et de ses implications possibles dans l’histoire du peuplement,

- la question des dépôts de bucrânes dans les tombes et de l’émergence de la richesse,

- la question des morts d’accompagnement.

Ces éléments modifient considérablement le discours traditionnel sur l'émergence d'une "stratification sociale" exprimée par la richesse des mobiliers funéraires.

 

 

 

Fig. 11. Kadruka. Sépulture d’un homme d’une quarantaine d’année vers 4200 BCE localisée au centre du cimetière. Elle contenait 9 têtes de massues, 7 bracelets et deux peignes en ivoire d’hippopotame, 5 céramiques dont deux vases caliciformes, une palette à fard, une statuette féminine en grès et deux bucrânes (Honegger 2014, p. 40, d’après Reinold 2000).

 

- La question des vases caliciformes et ses implications possibles dans l’histoire du peuplement

Les vases caliciformes se retrouvent au quatrième millénaire à la fois dans le Wadi Howar à Abou Tabari et au djebel Abyad, vers 3900-3700 BCE (Jesse 2007) et dans les tombes de la vallée du Nil, par exemple à el Kadada vers 3600-3400 BCE  ou à Kadruka 1 vers 3400 BCE (Reinold 2000, 2001) (fig. 12).

Ces poteries tirent leur origine du Tasien au Nord, où ils apparaissent sous des formes plus trapues au début du 5ème millénaire et atteignent le Soudan central vers la fin du cinquième millénaire, par exemple à Kadero.

 

 

Fig. 12. Deux vases caliciformes. A gauche : Abu Tabari 02/1-4, région du Wadi Howar (Jesse 2007, fig.3). A droite : el Kadada, cimetière C, SNM 26899 (Reinold 200, p. 61)

 

Les formes soudanaises très élancées et « baroques » témoignent d’une phase évoluée de l’évolution de ce type de céramique, nécessitant des techniques de montage particulières, type propre à être investi d’une signification sociale et ethnique.

La présence de tels récipients dans des tombes aux mobiliers particulièrement riches a certainement une signification, mais difficile de préciser.

Nous proposons de voir dans cette céramique un bon marqueur des populations de langues afrasiennes au moment de leur expansion en direction du Wadi Howar (fig. 13). Ce phénomène pourrait être à l'origine de la diaspora des populations de langues nilo-sahariennes, contraintes de quitter le wadi en direction du Sud (voir http://www.archeo-gallay.ch/7a_Lectures28.html).

 

 

 

Fig. 13. Répartition des vases caliciformes (Jesse 2007, fig. 1) et surlignage en rouge Alain Gallay. La ville de Kerma peut être considérée comme l’aboutissement de l’évolution initiée dans la zone de diffusion de la céramique caliciforme.

 

La question des dépôts de bucrânes de bovidés dans les tombes et l’émergence de la richesse

Nous devons mettre ici à part la sépulture 111-112 d’el Barga comprenant un homme et  une très jeune enfant couvert par un crâne de bovidé, d’abord parce qu’elle se situe vers 5750 BCE en dehors de la fourchette chronologique présentée ici, ensuite parce que le statut de l’enfant reste, dans cette tombe double, difficile à préciser (Honegger 2005, Chaix, Honegger 2009) (fig. 14).

 

 

Fig. 14. El Barga. Tombe d’un homme de plus de 35 ans, disposé face à celle d’un enfant de deux ans. Un crâne de bœuf domestique a été déposé sur la sépulture d’enfant, face contre terre, les cornes dirigées vers l’est (en grisé) (Honegger 2005, fig. 17).

 

Les sépultures avec bucrânes du 4ème millénaire offrent un corpus homogène avec des inhumations parfois doubles accompagnées d’un ou deux bucrânes (el Kadada 76, Kadruka 1) (Reinold 2000, 2001). Les bucrânes peuvent être associés à de très jeunes enfants. Ces associations peuvent être comprises dans la perspective des « bœufs préférés » comme c’est par exemple le cas chez les Turkana (Pavitt 1997),  ou chez les Hamar d’Ethiopie (Dubosson 2013, 2014).

Chez les Turkana, de son initiation à sa mort, chaque homme possède son bœuf préféré (bœuf de danse) ; il nomme l’animal d’après l’une de ses particularités et adopte lui-même ce nom, qu’il clamera au moment d’une attaque pour se donner courage (Pavitt 1997). L’interprétation en relation avec un statut de « bœuf préféré » permet d’expliquer la présence de bucrânes dans des sépultures de très jeunes enfants (Kadruka, cimetière KDK1/58 (fig. 15) (Reinold 2005),

 

 

Fig. 15. Kadruka, cimetière KDK1, tombe d’enfant associé à un grand bucrâne, KDK1/58. Le corps de l'enfant est patiellement situé sous un second bucrâne; une résille de Nérita luis couvre la tête. Derrière lui un cadavre de jeune mouton portant un collier de perles en amazonite (Reinold 2005, fig. 7).

 

Dans ce type de société les bovidés jouent un rôle essentiel car ils entrent dans le cadre du prix de la fiancée, souvent très élevé. Les troupeaux sont alors un moyen et une fin. L’échange de bêtes contre des femmes constitue l’un des piliers de ce type de société (McCabe 2011, p. 199). L’introduction des bovidés dans le rituel funéraire reste, dans cette pespective, essentiellement symbolique, le bétail étant réservé aux vivants (Dubosson 2013).

L’inflation des bucrânes observée dans les sépultures de Kerma témoigne d’un évolution où l’on passe de l’utilisation du bovidé dans le cadre des transactions matrimoniales à une l’expression d’une « richesse ostentatoire » totalement nouvelle.

L’idée que les pasteurs est-africains ont un attachement « irrationnel » à leur bovidés a été introduite par Melville Herkowits dans un article publié en 1926 : The cattle complex in East Africa, American anthropologist 28.  Cet article a diffusé l’idée que les pasteurs est-africains entretenaient de grands troupeaux de façon irrationnelle. Cette situation n’est pas celle des sociétés du quatrième millénaire ou des sociétés pastorales subactuelles comme les Turkana (McCabe 2011, p. 35), mais pourrait correspondre à la situation observée à Kerma.

 

La question des morts d’accompagnements

Les sépultures doubles sont interprétées dans la littérature archéologique traditionnelle comme des « sacrifices ». L’analyse des ces rituels dans la perspective des morts d’accompagnements, un phénomène bien étudié par Alain Testart (2004 a et b), nous paraît  mieux éclairer le type de société d’alors (fig. 16).

Considérer les individus mis à morts lors des funérailles  comme des morts d’accompagnement implique en effet :

- que ces sociétés possèdent, dès le 4ème millénaires, des dépendants,

- que ces dépendants peuvent être des prises de guerre,

- que ces pratiques sont compatibles avec des sociétés lignagères simples,

- que la société est  animée dès cette période par des tensions qui iront en s’exacerbant jusqu’à l’inflation constatée à la fin de la civilisation de Kerma. Phénomène qu’il convient de mettre en parallèle avec la question de la richesse en bétail évoquée précédemment.

 - que cette inflation indique que la royauté de Kerma, à laquelle font référence les archéologues, est une royauté faible dans le sens donné par Alain Testart à ce terme, royauté compatible avec un statut de cité-Etat.

 

Fig. 16. El-Kadada, cimetière C. Sépulture double associée à un crâne de bovidé (KDD85/60-61) (Reinold 2005, fig. 1)

 

Bibliographie

Bender, 2004. Nilo-Saharien. In : Heine, B., Nurse, D. (eds). Les langues africaines. Paris : Karthala, p. 55-90.

 

Bender, M. L., Bowen, J. D., Cooper, R. L. et Ferguson, C. A. 1976. Language of Ethiopia. London : Oxford University Press.

 

Blench, R. 1999. The Westward Wanderings of Cushitic Pastoralist : exploration in the prehistory of central Africa. In :Baroin, C., Boutrais, J. (eds). L’homme et l’animal dans le bassin du lac Tchad. Paris : IRD, p. 39-80.

 

Blench, R. 2006. Archaeology, Language, and the African Past. Lanham, New York, Toronto, Oxford :  Rowman and Little field Publishers, Inc. (Altamira Press).

 

Brandt, S. A. 1984. New Perspectives on the Origins of  Food Production in Ethiopa. In :Clarck, J. D., Brandt, S.A. (eds.). From hunters to farmers : the causes and consequences of food production in Africa. Berkeley, Las Angeles, London : University of California Presse, p. 173-211.

 

Boyeldieu, P. 2011. Les langues nilo-sahariennes. In : Bonvini, E., Busutil, J., Peyreube, A. (eds). Dictionnaire des langues. Paris : PUF, p. 185-190.

 

Chaix, L. 2009. Les premiers animaux domestiques dans la région de Kerma. In : Honegger, M. (ed). Kerma (Soudan) : origine et développement du premier royaume d’Afrique noire. Archéologie suisse 32,1, p. 5.

 

Chaix, L., Honegger, M. 2009. New data on animal exploitation from the Mesolithic to the Neolithic periods in Norhern Sudan. In : Climat and ancient societies (Conference held at the University of Copenhagen, 21.23 oct. 2009),  p.197-214.

 

Clark, J. D. et Brandt, S. A. 1984. From Hunters to Farmers : the Causes and Consequences of Food Production in Africa. Berkeley, Los Angeles, London : University of California Presse.

 

Dimmendaal, G. 2007. The Wadi Howar diasporam: Linking linguistic diffusion to palaeoclimatological and archaeological findings. In : Bubenzer O., Bolten A., Darius, F. (eds.). Atlas of Cultural and Environmental Change in Arid Africa. p. 148-149. Cologne: Heinrich-Barth-Institut.

 

Dubosson, J. 2013. Le rôle du bétail dans les rituels funéraires des sociétés pastorales est-africaines : l’exemple des Hamar du sud-ouest éthiopien. In : Baroin, C., Michel C. (eds). Richesse et sociétés, Paris : de Boccard (colloques de la Maison de l’archéologie et de l’ethnologie René Ginouvès), p. 217-225

Dubosson, J. 2014. Human “self” and animal “other” : the favourite animal among the Hamar. Ethiopian images of self and other, Gike, Felix, p.83-104.

 

Ehret, C. 1976. Cushitic Prehistory. In : Bender, M. L. (ed.). The non Semitic Languages of Ethiopia. East Lansing : Michigan University Press, p. 85-96.

 

Ehret, C. 1993/1995. Nilo-Saharans and the Saharo-Sudanese Neolithic. In : Shaw, T., Sinclair, Andah, B., Okpoko, A. (eds). The archaeology of Africa : food, metals and towns. London, New-York : Routledge (One wold archaeology 20), p. 104-121.

 

Ehret, C.  2011. History and the Testimony of Language. Berkeley, Los Angeles, London : University of California Press.

 

Gallay, A. 2016a. Monumentalisme et populations de langues est-couchitiques en Ethiopie 1: une approche anthropologique. In : Jeunesse, C., Le Roux, P., Boulestin, B. (eds). Mégalithisme vivants et passés : approches croisées. Oxford : Archaeopresse publishing ltd., p. 191-218.

 

Gallay, A. 2016b. Monumentalisme et populations de langues est-couchitiques en Ethiopie 2 : une approche historique. In : Jeunesse, C., Le Roux, P., Boulestin, B. (eds). Mégalithisme vivants et passés : approches croisées. Oxford : Archaeopresse publishing ltd., p. 219-244.

 

Heine, B. et Nurse, D. (eds.)  2004. Les langues africaines. Paris : Karthala.

 

Honegger, M. 2005. El-Barga : un site clé pour la compréhension du Mésolithique et du début du Néolithique en Nubie. Revue de paléobiologie (Genève) 10 (vol. spécial), p. 95-104.

Honegger, M.2005.  Kerma et les débuts du Néolithique africain. Genava, 53, p. 239-249.

 

Honegger, M. 2009. Kerma (Soudan) : origine et développement du premier royaume d’Afrique noire (avec des contributions de C. Bonnet, L. Chaix et J. Dubosson). Archéologie suisse 32,1, p. 2-13.

Honegger, 2014. Aux origines des pharaons noirs : 10.000 ans d’archéologie en Nubie (Catalogue d’exposition, Laténium, Neuchâtel 3 sept. 2014 - 17 mai 2015). Hauterive : Laténium et fondation Kerma.

Honegger, M., Williams, M.  2015. Human occupations and environnemental changes in the Nile valley during the Holocene : the case of Kerma in Upper Nubia (northerne Sudan). Quaternary science review 30, p. 1-14.

 

Jesse, F. 2007. Un nouvel aspect du Néolithique au Wadi Howar (nord du Sound) : des vases caliciformes. In: Gratien, B. (ed.) Mélanges offerts à Francis Geus. Lille : Université Charles-de-Gaulle, Lille 3 (Cahiers de recherches de l’Institut de papyrologie et d’égyptologie de Lille), p. 187-196.

 

Keding, B. 1993. Leiterband sites in the Wadi Howar, North Sudan. In : Krzyzaniak L., Kobusiewicz L., Alexander J. (eds). Environmental change and human culture in the Nile Basin and Northern Africa until the Second millennium B.C. Poznan Archaeological Museum, p. 371 -380.

 

McCabe, J. T. 2011. Cattle bring us to our enemies : Turkana Ecology, Politics and Raiding in a Disequilibrium System. Ann Arbor : University of Michigan.

 

Meillet, A. 1925. La Méthode comparative en linguistique historique. Oslo : H. Aschehoug & Co, Paris : Honoré Champion.

 

Nicolaï, R., 1990. Parentés linguistiques (à propos du songhay). Paris : Editions du CNRS.

 

Pavitt, N. 1997. Turkana : les nomades de la mer de jade. Londres : the Harvill Press.

 

Reichler-Béguelin, M.-J. 1988. La méthode comparative de Meillet : statut et légitimité des reconstructions. In: histoire, épistémologie, langage 10, 2, p. 11-24.

Reinold, J.  2000. Archéologie au Soudan : les civilisations de Nubie. Paris : ErranceReinold, J. 2001. Kadruka and the Neolithic in the Northern Dongola Reach. Sudan & Nubia (The Sudan Archaeological Research Society), 5, p. 2-14.

Reinold, J. 2005. Note sur le monde animal dans le funéraire néolithique du Soudan. Revue de paléobiologie (Museum d’histoire naturelle, Genève), 10, p. 107-119.

Rilly, C. 2009. From the Yellow Nile to the Blue Nile : the quest for water and the diffusion of Northern East Sudanic Languages from thre fourth to the first millenia BCE. ECAS 2009 (3rd European Conference on African Studies, Panel 142: African waters - water in Africa, barriers, paths, and resources: their impact on language, literature and history of people). Leipzig, 4 to 7 June 2009.

 

Rilly, C. 2010. Le méroïtique et sa famille  linguistique. Louvain : Peeters (Afrique et langage 14).

Sadig, A. M. 2010. The Neolithic of the middle Nile region : an archaeology of central Sudan and Nubia. Kampala : Fountain publisher.

Testart, A. 2004-1. La servitude volontaire 1 : les morts d'accompagnement. Paris : Errance.

Testart, A. 2004-2. La servitude volontaire 2 : l'origine de l'Etat. Paris : Errance, Paris.

Wendorf, F. R. et Schild, R. 1996. A Late Megalith Complex in the Eastern Sahara : a Preliminary  Report. In : Kryzaniak, L., Kroeper, K., Kobusiewicz, M. (eds.). Interregional Contacts in the Later prehistory of northeastern Africa. Poznan : Poznan Archaeological Museum (Studies in African archaeology 5), p. 125-132.

 

Wendorf, F. R. et Schild, R. 1998. Nabta Playa and Its Role in Northeastern African Prehistory. Journal of Anthropological archaeology 17, p. 97-123.

 

Wendorf, F. R. et Schild, R. (eds.). 2001. Holocene settlement of the Egyptian Sahara 1 : the Archaeology of Nabta Playa. New York : Kluwer Academic /Plenum Publisher.